PN公稱尺寸
DN安裝尺寸/mm過濾面積
cm2排污口N
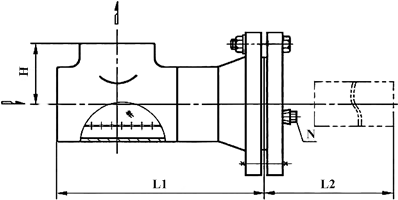
管螺紋HL1L2165064338326210R ?6576408393295R ?8086451436406R ?100105556532520R ?125124602584870R ?150143633600940R ?2001787316981600R ?2502168177842400R ?3002549158823000R ?350279104310104000R ?400305110610735000R ?表中未列出的其他規格參數,請咨詢汗越閥門技術部!

加長型側流式T型過濾器結構圖

加長型側流式T型過濾器

上一條:正折流式T型過濾器

下一條:基本型側流式T型過濾器