PN公稱通徑
DN結構尺寸/mm排污口尺寸
DN流量
t/hdDLL110 ~ 25
20 (Class150)505715960030020≤19657615960030020≤28808915960030020≤5010010821970030020≤8012513321975034025≤12515015927390035032≤18020021932595052532≤320250273406114065040≤490300325406119068040≤710350377457129074050≤970表中未列出的其他規格參數,請咨詢汗越閥門技術部!

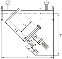
Y型電動刷式自清洗過濾器結構圖

Y型電動刷式自清洗過濾器

上一條:燃氣Y型過濾器

下一條:手搖刷式Y型過濾器